دانلود جدید ترین فیلمها و سریالهای روز دنیا در سایت 98Movies. اگر در جستجوی یک سایت عالی برای دانلود فیلم هستید به این آدرس مراجعه کنید. این سایت همچنین آرشیو کاملی از فیلمهای دوبله به فارسی دارد. بنابراین برای دانلود فیلم دوبله فارسی بدون سانسور نیز می توانید به این سایت مراجعه کنید. در این سایت امکان پخش آنلاین فیلم و سریال همراه با زیرنویس و فیلمهای دوبله شده به صورت دوزبانه فراهم شده است. بنابراین برای اولین بار در ایران شما می توانید فیلمهای دوبله شده را در تلویزیونهای هوشمند خود به صورت دوزبانه و آنلاین مشاهده نمایید.
التاريخ : 2020-02-26

مخترع عربي هو العقل وراء هذا التصميم الثوري من فورد!

الرأي نيوز :
يبدو أن فورد تختبر تصميم سيارات جديد كلياً، حيث سجلت صانعة السيارات الأمريكية براءة اختراع توضح تفاصيله.
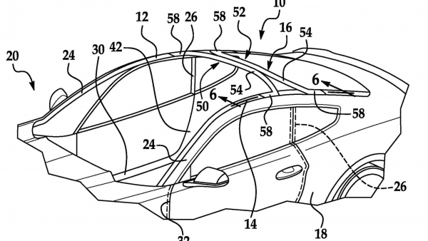
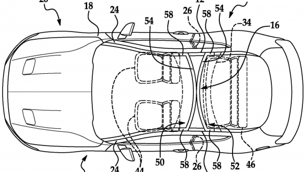
تُظهر الصور مفهوم جديد لسقف السيارات، ويبدو للوهلة الأولى أنه سقف زجاجي بالكامل، وهو أمر ليس غريباً أو جديداً في عالم السيارات، اذ رأيناه في العديد من السيارات الاختبارية، إلا أنه لم يتحول إلى واقع أبداً لصعوبة تنفيذه.

هذا على أي حال قد يتغير، إذ أن السقف الذي تطوره فورد يحتوي قضباناً منحنية في منطقة ضيقة بين الزجاجين الأمامي والخلفي، ما يجعل السقف متيناً تماماً مثل أسقف السيارات التقليدية.

 
 
 
 
 
 
 
 
 
Volume 0%
 

لن يكون ذلك من أجل المظهر الأنيق والمستقبلي وحسب، بل سيوفر أيضاً رؤية وإضاءة أفضل للسائق، ما يزيد من مستوى التركيز أثناء القيادة.

وتؤكد فورد أن تصميم السقف الغريب لن يكون متوفراً على جميع الطرازات، بل سيكون سيقتصر استخدامه على الطرازات الرياضية مثل موستنج، وذلك لأن هيكلتها ستسمح بذلك.

يذكر بأن تونسي الجنسية، محمد رضا بكوش، هو الذي سجّل اختراع السقف الغريب مع فورد، آملين أن نرى تطبيقه على أرض الواقع مستقبلاً، قبل انتشاره على العديد من الطرازات.


عدد المشاهدات : ( 1693 )
   
الإسم
البريد الإلكتروني
نص التعليق
تتم مراجعة كافة التعليقات ،وتنشر في حال الموافقة عليها فقط ،
ويحتفظ موقع 'الرأي نيوز' بحق حذف أي تعليق في أي وقت ،ولأي سبب كان،ولن ينشر أي تعليق يتضمن اساءة أو خروجا عن الموضوع المطروح ، علما ان التعليقات تعبر عن أصحابها فقط .