دانلود جدید ترین فیلمها و سریالهای روز دنیا در سایت 98Movies. اگر در جستجوی یک سایت عالی برای دانلود فیلم هستید به این آدرس مراجعه کنید. این سایت همچنین آرشیو کاملی از فیلمهای دوبله به فارسی دارد. بنابراین برای دانلود فیلم دوبله فارسی بدون سانسور نیز می توانید به این سایت مراجعه کنید. در این سایت امکان پخش آنلاین فیلم و سریال همراه با زیرنویس و فیلمهای دوبله شده به صورت دوزبانه فراهم شده است. بنابراین برای اولین بار در ایران شما می توانید فیلمهای دوبله شده را در تلویزیونهای هوشمند خود به صورت دوزبانه و آنلاین مشاهده نمایید.
التاريخ : 2021-02-08

أبل تطور كابل شحن غير قابل للتلف.. اعرف التفاصيل

الرأي نيوز :
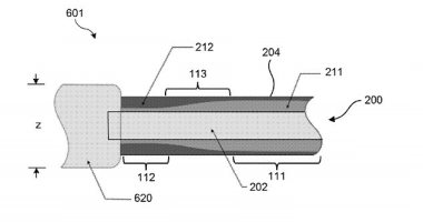
كشفت براءة اختراع جديدة أن شركة آبل تعمل على سلك شحن لأجهزة أيفون الخاصة بها، والذي سيجعل الكابلات البالية أمرا لا وجود له، حيث تشير براءة الاختراع، المودعة بمكتب براءات الاختراع والعلامات التجارية الأمريكي، إلى أن الكابل الجديد سيكون له سمك موحد ولكن بمستويات مختلفة من الصلابة، ووفقا لما ذكرته صحيفة "ديلى ميل" البريطانية، سيكون كلا طرفي الكبل شديدى الصلابة، بينما سيظل مركز الكابل مرنًا، ولم تذكر أبل في أي مكان في براءة الاختراع تقنية موصل الطاقة الخاصة بها "Lightning".
 
وتقول Apple: "من المعروف أن ثني الكبل بالقرب من نقطة نهايته، قد يتسبب في تلفغير مرغوب فيه على توصيلات الأسلاك، مما قد يؤدي إلى فشل الكابل".
 
وسيكون قلب الكابل محاطًا بغطاء خارجي بسمك موحد وله أيضًا قسم مركزي به صلابة أولى، وقسم طرفي في كل طرف له صلابة ثانية.
 
وجاء آخر إصدار للهاتف لشركة أبل مع كابل USB-C إلى Lightning في العلبة، ويحتوي كابل USB-C إلى Lightning على كمالات لتخفيف التلف صغيرة في كلا الطرفين لتعزيز القوة وجعلها أقل عرضة للتآكل.
 
وتقول شركة آبل: "من الشائع توفير غطاء لتخفيف الضغط مصنوع من مادة صلبة حول منطقة نهاية الكابل، ويتم تشكيل كمالات تخفيف الضغط الحالية بشكل عام كهيكل منفصل يتم وضعه حول غلاف الكابل الخارجي".
 
ومع ذلك، فإن الكبل الجديد الموصوف في براءة الاختراع يمكن أن يتخلص من هذه الشرائط الصغيرة، والتي تقول أبل إنها "قد لا تكون مرغوبة، مع تحسين الحماية التي تقدمها".
عدد المشاهدات : ( 2289 )
   
الإسم
البريد الإلكتروني
نص التعليق
تتم مراجعة كافة التعليقات ،وتنشر في حال الموافقة عليها فقط ،
ويحتفظ موقع 'الرأي نيوز' بحق حذف أي تعليق في أي وقت ،ولأي سبب كان،ولن ينشر أي تعليق يتضمن اساءة أو خروجا عن الموضوع المطروح ، علما ان التعليقات تعبر عن أصحابها فقط .